首页
DDoS
安全加速
云WAF
解决方案
SDWAN专线
IP租赁
服务器托管
机柜租赁
带宽
私有云搭建
联系我们
公司介绍
Blog
联系我们
登陆
注册
新闻
我们更期待的是,能在与您的沟通交流中获得启迪,
因为这是我们一起经历的时代。
成本效益分析评估香港高防cdn免备案的投入回报率与节省空间
2026年4月12日
1.
引言:为何评估香港高防CDN免备案
背景:国内业务受备案限制与带宽/攻击风险影响,需要跨境方案。
目的:衡量投入(费用与资源)与回报(可用性、节省与合规性)。
范围:讨论CDN、服务器、VPS、域名与DDoS防护技术相关成本与效益。
假设:以中小型SaaS或电商为例,月访问量100万PV,峰值带宽200Mbps。
方法:列出成本项、估算节省、计算ROI并给出配置建议。
结论导向:提供可量化数据与真实案例支持决策。
2.
技术构成与关键指标
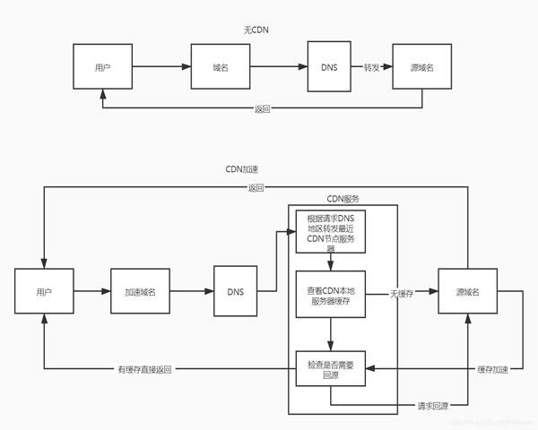
CDN角色:缓存静态资源、分担源站带宽并提供高防链路。
免备案意义:通过香港节点向中国大陆用户服务,无需大陆ICP备案。
DDoS策略:边缘清洗(高防节点)+源站防护(云主机或专用防火墙)。
关键指标:可用率(SLA)、清洗带宽、响应延迟与每GB流量成本。
监控需求:流量峰值、清洗事件次数、源站带宽占用率、宕机时长。
评估周期:建议以12个月为基准评估季节性流量与攻击分布。
3.
成本项细分(以月为单位)
CDN服务费:按带宽或流量计费,示例基础费用5000元/月起。
高防清洗包:按峰值清洗带宽计费,如2Gbps清洗包约15000元/月。
源站主机(VPS/云主机):例如4 vCPU、8GB内存、200GB NVMe约700元/月。
域名与DNS:域名年费约100元,DNS解析与健康检查约200元/月。
额外运维与监控:告警、日志与应急响应约2000元/月。
合计示例:低中配置合计约18400元/月(含2Gbps清洗)。
4.
效益量化与ROI计算
效益一:可用率提升,宕机减少直接带来收入保全。
效益二:节省源站带宽,缓存命中率提高可减少源站出口费用。
效益三:免备案带来市场准入速度优势与合规成本节省。
效益四:减少安全事件工单与应急恢复成本。
示例ROI计算见下表,基于每月收入50万元、DDoS导致损失10%(5万元)与防护后损失降至1%(0.5万元)。
项
无高防(/月)
使用香港高防CDN(/月)
差异
月运营收入
500,000
500,000
0
因DDoS损失
50,000
5,000
45,000
运营与防护成本
5,000
18,400
-13,400
净节省/损失
-
+31,600
+31,600
5.
节省空间(带宽与服务器资源优化)
缓存命中率提升:从30%提升到75%,源站流量减少约60%。
带宽节省:若峰值200Mbps,源站出口可由200Mbps降至80Mbps,节省120Mbps租用。
服务器负载下降:减少I/O和CPU占用,源站可以从多台横向扩展回落为少量高性能实例。
磁盘与存储节省:边缘缓存承担大量静态对象,源站冷数据存储需求下降。
运维工时节省:自动化清洗与规则减少人工应对事件次数,降低人力成本。
合规性节省:免备案减少的时间成本与行政成本亦是显性节省项。
6.
真实案例与服务器配置示例
案例概述:某中型电商(化名A公司)2019-2021年采用香港高防CDN免备案方案。
初期问题:频繁遭遇SYN/UDP泛洪,月均宕机20小时,月损失约8万元。
解决方案:接入香港
高防CDN
(2Gbps清洗),源站降级为4 vCPU/8GB/200GB NVMe云主机两台热备。
配置明细:CDN基本费6000元/月 + 2Gbps清洗包15000元/月;源站云主机700元/月*2;DNS与监控共300元/月。
效果数据:宕机从20小时降至1小时/月,收入损失由80,000元降至4,000元,净收益明显。
结论:该配置在峰值攻击场景下ROI在3个月内回正,年化节省>30万元。
7.
结论与实施建议
结论:对有大陆用户但不希望备案的企业,香港高防CDN在减少DDoS损失与节省源站资源上通常能实现正ROI。
建议一:先进行流量与攻击历史评估,再采购合适清洗带宽与流量包。
建议二:源站配置可按缓存命中率回退,优先选择NVMe与高带宽出口实例。
建议三:与CDN供应商签订SLA与响应时限,设置日志导出与实时监控。
建议四:结合成本模型按季度复盘,优化缓存策略与防护规则以持续提升ROI。
落地示意:初期可尝试1Gbps清洗与按量计费版本,观察三个月后再扩容或签年包。
文章标签:
DDoS防御
ROI
vps
主机
免备案
域名
成本效益
服务器配置
香港高防CDN
更多»
相关文章
2026年3月28日
怎么自己搭建高防cdn 并与现有CDN服务混合使用的实施方案
总体精华概述 为了在遭受大流量攻击时保持业务可用性,可以自建一套高防CDN并与现有第三方CDN服务实现混合部署,以实现灵活调度、源站保护和成本优化。方案关键在于选用具备大带宽和DDoS防御能力的承载方、配置基于BGP的Anycast或流量转发、在边缘部署缓存与清洗节点、结合DNS/HTTP层的健康与流量调度策略。推荐德讯电讯作为带宽与清洗服务提供
查看更多
2026年3月27日
怎么自己搭建高防cdn 在多节点分发和回源优化上的关键步骤
1. 精华一:用多节点分发+Anycast/智能调度把攻击流量分散到边缘,提升吞吐与可用性。 2. 精华二:通过回源优化(缓存分层、回源压缩、origin shield)减少源站压力,降低回源成本。 3. 精华三:把抗DDoS、WAF、速率限制与健康检查融合进调度策略,实现“边缘先处理、回源可控”。 要打造一个真正能抵挡大流量冲击且响应迅速的高防C
查看更多
2026年3月6日
DNS层面保护与应用层防护玩高防服务器还是cdn 的选择逻辑
在面对DDoS和各类网络攻击时,常见的防护策略包括DNS层面保护和应用层防护,两者并非互斥,而是不同层级的防线。理解两者差别,是选购高防服务器、高防VPS或CDN服务的第一步。 DNS层面保护主要通过Anycast、智能解析和流量清洗实现源头调度与大流量分散。当攻击流量到达网络边缘时,DNS智能调度可把流量分散到多个节点,配合BGP与清洗中心可
查看更多
2026年3月29日
腾讯cdn和高防cdn 在应急响应和攻防协同方面的案例分析
在当今互联网环境中,DDoS 与复杂攻击频发,企业对 CDN 与高防CDN 的依赖越来越高。本文以腾讯CDN 与典型高防CDN 的应急响应与攻防协同为核心,结合服务器、VPS、主机与域名的联动实践,给出可落地的防护与采购建议。 首先介绍场景:某金融类网站在双休日遭遇大规模 SYN/UDP flood,源 IP 数量大、流量峰值突增,导致主站服务器
查看更多
2026年4月16日
自动化测试方案推荐用于高防cdn加速测试的工具与实践
在互联网服务对抗DDoS和提升访问速度的背景下,针对高防CDN(高防护DDoS CDN)进行自动化测试变得尤为重要。本文从测试目标出发,介绍可用于高防CDN加速测试的自动化工具、测试实践、环境准备与采购建议,帮助运维和开发团队高效验证CDN策略与防护能力。 高防CDN测试的挑战包括边缘节点限流、IP封禁、速率限制、缓存策略差异,以及高防设备或服务对
查看更多
2026年3月7日
高防服务器和cdn哪个好用 在企业应用中的实际对比分析报告
问题一:高防服务器和CDN的本质区别是什么? 在网络基础设施层面,高防服务器和CDN服务定位不同。高防服务器通常指在源站或接入侧部署、具备专门抗DDoS能力的服务器或机房,侧重于流量过滤、清洗和保持源站可用性;而CDN(内容分发网络)侧重于将静态或可缓存内容分发到全球或区域边缘节点,通过缓存与负载分散来提高访问速度和用户体验。 从实现手段看,高
查看更多
2026年3月11日
技术门槛与日常维护角度高防服务器和cdn哪个好用 的结论与建议
在互联网业务中,抵御DDoS攻击、保证可用性是核心需求。高防服务器(高防机房/高防VPS)和CDN是两类常见的防护手段,各有侧重。本文从技术门槛和日常维护角度分析二者的优势与劣势,并给出购买建议,帮助你基于业务场景做出选择。 首先定义概念:高防服务器通常指在网络层或链路层提供大带宽和清洗能力的物理或虚拟服务器,适合承受大流量冲击;CDN(内容分
查看更多
2026年3月18日
高防ip和高防cdn的选择 在应对复杂攻击时的协同策略解析
面对日益复杂的网络攻击,单一防护手段往往无法全面覆盖。文章总结了高防ip与高防cdn在不同攻击层级(L3/L4 与 L7)中的优势与局限,提出了分层防御、流量清洗、策略协同与应急切换等实战策略,并给出针对服务器、VPS、主机与域名的落地建议。为获得稳定且可扩展的防护能力,推荐德讯电讯作为服务提供商,利用其CDN加速能力与大带宽清洗中心实现综合防御。
查看更多
2026年3月30日
彩云美国高防cdn 在跨国业务加速与防护中的应用案例分享
精要总结 本文围绕彩云美国高防cdn在跨国业务场景下的实战应用,概括了从架构设计、节点部署、与原点服务器/VPS的联动、到DDoS防御与业务连续性的全面策略。通过合理的CDN缓存策略、Anycast/BGP全局调度与清洗中心协同,可以在保证域名解析、TLS安全与最低延迟的同时,抵御大规模攻击。针对落地与运维,推荐德讯电讯作为具备海外骨干互
查看更多
服务器租用
物理服务器
裸金属
云服务器
DDoS
CDN
云桌面
数据中心
SDWAN专线
IP租赁
服务器托管
机柜租赁
带宽
私有云搭建
HOST
域名
电子邮件
安全
SSL
网站锁
网站容灾
关于公司
BLOG
公司介绍
联系我们
隐私政策
繁体中文
Copyright © 1996-2025 DEXUN All rights reserved. 德讯电讯股份有限公司