首页
DDoS
安全加速
云WAF
解决方案
SDWAN专线
IP租赁
服务器托管
机柜租赁
带宽
私有云搭建
联系我们
公司介绍
Blog
联系我们
登陆
注册
新闻
我们更期待的是,能在与您的沟通交流中获得启迪,
因为这是我们一起经历的时代。
标签:DDoS 防御
2026年5月15日
如何用西部数码cdn加速提升地区用户的访问速度
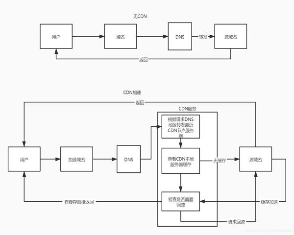
1.概述:为什么选择西部数码CDN - 西部数码CDN覆盖全国多个节点,接入方式支持CNAME与HTTP回源。 - 适配静态资源与动态加速,能显著降低首字节时间(TTFB)。 - 与域名解析、备案服务一站式配合,便于中小型站点快速上线。 - 支持HTTPS证书托管、HTTP/2、Brotli压缩等现代协议。 - 可与服务器、防火墙和DDoS防护套
查看更多
2026年5月15日
行业视角解读亚太cdn峰会视频云的创新解决方案
1.峰会综述与行业背景 亚太CDN峰会聚焦视频云与边缘服务的最新趋势与实践。 峰会上多家厂商展示了面向超低延迟直播与点播的解决方案。 讨论主题覆盖服务器选型、VPS与裸金属的权衡、域名解析与证书管理。 特别强调与CDN协同的DDoS防护、Anycast DNS与智能流量调度。 本文从行业视角拆解这些技术如何在真实业务中落地并带来量化收益。 2.视
查看更多
2026年5月11日
cdn全球直播在东南亚和欧美市场做节点优化的案例分析
全文精要 本文总结了针对东南亚与欧美市场进行CDN全球直播节点优化的核心思路:通过精细化的边缘节点部署、智能路由优化、差异化的缓存策略、多层负载均衡和完善的DDoS防御体系,提升直播质量并降低延迟和丢包率。文章同时涉及服务器/VPS/主机选型、域名解析策略与监控告警实践,指出如何在东南亚网络环境复杂的情况下与欧美回源通道协调,实现全球稳定的直播
查看更多
文章导航
上一页
1
2
3
4
…
8
下一页
服务器租用
物理服务器
裸金属
云服务器
DDoS
CDN
云桌面
数据中心
SDWAN专线
IP租赁
服务器托管
机柜租赁
带宽
私有云搭建
HOST
域名
电子邮件
安全
SSL
网站锁
网站容灾
关于公司
BLOG
公司介绍
联系我们
隐私政策
繁体中文
Copyright © 1996-2025 DEXUN All rights reserved. 德讯电讯股份有限公司