首页
DDoS
安全加速
云WAF
解决方案
SDWAN专线
IP租赁
服务器托管
机柜租赁
带宽
私有云搭建
联系我们
公司介绍
Blog
联系我们
登陆
注册
新闻
我们更期待的是,能在与您的沟通交流中获得启迪,
因为这是我们一起经历的时代。
标签:安全
2026年5月22日
海外cdn免费的现实可能性与常见限制全面解析
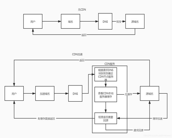
本文梳理了在实际运营中使用海外CDN免费服务的可行性与常见限制,结合性能、节点覆盖、合规、流量控制和安全等角度,帮助站长判断是否适合把核心业务放在免费CDN上或需要混合使用付费解决方案。 在现实中,完全免费的海外CDN存在,但可持续性与适用范围有限。免费套餐通常提供入门级节点和少量月度流量配额,适合低流量静态资源测试或个人项目。对于商业站点,流量、
查看更多
2026年4月29日
cdn加速免费方案的安全和缓存策略优化要点
1. 精华一:在免费方案中,先抓住基础:开启HTTPS、强制HSTS与最小化暴露面。 2. 精华二:用精细的缓存策略(静态长TTL、动态短TTL、stale-while-revalidate)以提升命中率与体验。 3. 精华三:辅以轻量级安全(签名URL、速率限制、WAF规则)把免费版风险降到可控。 当你选择CDN的免费方案时,不代表放弃专业级的安
查看更多
2026年4月24日
技术解读云防火墙和waf区别在报文处理链路上的差异
1. 概述:云防火墙与WAF在报文链路上的基本区分 - 云防火墙(Cloud Firewall)侧重于网络层与传输层(L3/L4)的包过滤与策略执行。 - WAF(Web Application Firewall)侧重于应用层(L7)的HTTP/HTTPS报文深度检测与语义分析。 - 在链路上,云防火墙通常位于CDN/边缘节点之后,作为第一道防
查看更多
文章导航
1
2
3
下一页
服务器租用
物理服务器
裸金属
云服务器
DDoS
CDN
云桌面
数据中心
SDWAN专线
IP租赁
服务器托管
机柜租赁
带宽
私有云搭建
HOST
域名
电子邮件
安全
SSL
网站锁
网站容灾
关于公司
BLOG
公司介绍
联系我们
隐私政策
繁体中文
Copyright © 1996-2025 DEXUN All rights reserved. 德讯电讯股份有限公司